0931-2211663/ 136-39339712

                           150-95323562 

浩辰知识产权

HAOCHEN  INTELLECTUAL  PROPERTY


首页 >> 浩辰资讯 >>行业动态 >> 良品铺子配料表造假后,陈薯酸辣粉迅速火爆,商标也不甘落后
详细内容

良品铺子配料表造假后,陈薯酸辣粉迅速火爆,商标也不甘落后

图片

“陈薯酸辣粉”

图片

近日,湖北武汉东西湖区市场监管部门发布情况通报:有举报人提供关于东西湖辖区湖北良品铺子食品工业有限公司涉嫌委托生产的“酸辣粉未检测出红薯淀粉””“桂香坚果藕粉检测出木薯基因”线索。武汉东西湖区市场监管局表示,已立案调查,并依法依规处置。

图片

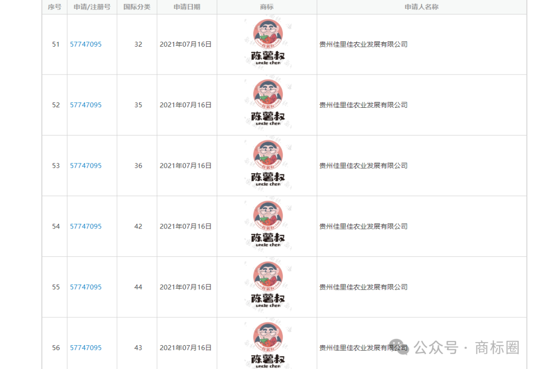
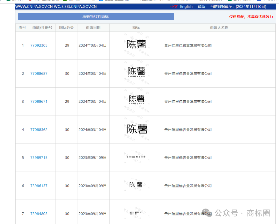
良品铺子被立案,很多友商都沉默了,随即陈薯酸辣粉晒出视频说自己家的酸辣粉里面有粉,晒出了自家的检测报告,那么接下来我们看下这个公司的知识产权的情况,贵州佳里佳农业发展有限公司的负责人张诚意识到商标的重要性,早早地成功注册商标“陈薯”。


这为公司后续的品牌发展和产品推广奠定了坚实的法律基础,使“陈薯”品牌在市场上具有了明确的归属和独特的标识,避免了商标被他人抢注或冒用的风险。

图片
图片
图片

积极应对市场变化:在同行业其他品牌出现负面事件时,陈薯酸辣粉能够迅速抓住机会,展示自己的生产过程和产品优势,吸引消费者的关注,进一步提升品牌形象。


注重品牌维护:公司对“陈薯”品牌的维护意识较强,不仅在产品质量上严格把控,坚持使用纯正的红薯粉等优质原材料,确保产品的口感和品质。而且在面对市场竞争和可能出现的侵权行为时,能够积极维护自己的品牌权益,例如在良品铺子酸辣粉配料表造假事件引发关注后,陈薯官方旗舰店迅速出示检测报告,证明自家产品的品质,抓住了这泼天的流量。


地址:
邮箱:
客服:
甘肃省兰州市七里河区中天健10号楼914
876036450@qq.com
876036450
扫一扫,关注我们!

联系电话:

0931-8469573

周一至周日8:00—18:00

客服中心
联系方式
0931-8469573
- 董经理QQ
- 刘经理QQ
- 何经理 QQ
扫一扫 加我微信
技术支持: 多元网络 | 管理登录
seo seo