0931-2211663/ 136-39339712

                           150-95323562 

浩辰知识产权

HAOCHEN  INTELLECTUAL  PROPERTY


首页 >> 浩辰资讯 >>浩辰头条 >> 多枚“特朗普”“川普”等商标在中国成功注册,竟是其本人所为
详细内容

多枚“特朗普”“川普”等商标在中国成功注册,竟是其本人所为

图片

“特朗普”

图片

如果说起最近的全球焦点,莫过于美国的总统竞选,就这本月6日,这件全球关注的焦点也终出结果:特朗普第二次当选美国总统!一时间互联网上对这一结果陷入激烈的讨论。

图片

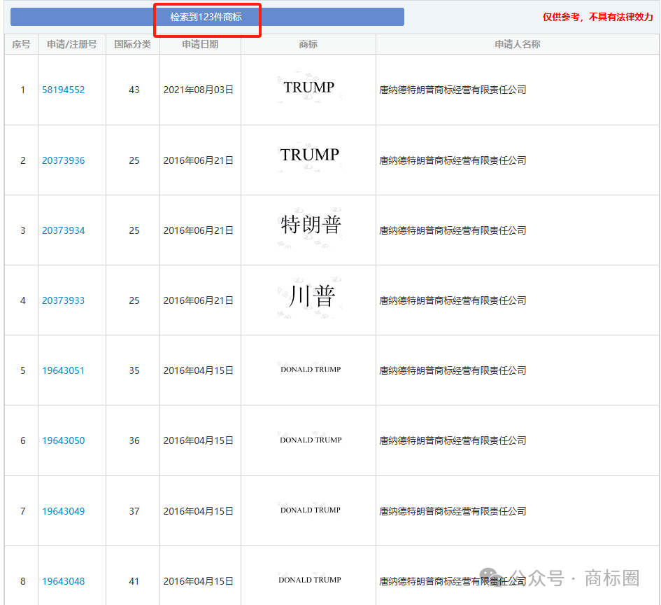
据公开信息显示,唐纳德·特朗普(Donald J. Trump)及其相关公司多年间在中国已经注册了多个商标。

图片

特朗普经商期间就在中国注册了大量关于“川普国际酒店大厦”、“川普地产”、“川普大厦”、“川普广场”等商标。2015年6月,特朗普正式宣布角逐2016年美国总统大选之后,更是注册了40多个“唐纳德·特朗普”、“唐纳德·川普”、“川普”、“DONALD TRUMP”、“ TRUMP”商标,涵盖了多个类别,比如餐饮住宿、服装鞋帽、皮革皮具、广告销售、教育娱乐、金融物管等。其中餐饮住宿类“特朗普”商标已成功注册。令人震惊的是,在中国注册成功的特朗普商标是其本人注册。


近年来,特朗普也未停止商标保护的步伐,目前在国内商标注册量已经高达上百件,真是妥妥的“商标狂魔”!

图片

至于特朗普或他的企业是否会在中国市场利用自己的商标进行商业活动还是一个未知,不过注册商标是中国法律保护品牌权益的一种方式,特朗普的名头如此响亮,一旦忽视商标保护,极有可能被他人抢注。


地址:
邮箱:
客服:
甘肃省兰州市七里河区中天健10号楼914
876036450@qq.com
876036450
扫一扫,关注我们!

联系电话:

0931-8469573

周一至周日8:00—18:00

客服中心
联系方式
0931-8469573
- 董经理QQ
- 刘经理QQ
- 何经理 QQ
扫一扫 加我微信
技术支持: 多元网络 | 管理登录
seo seo